微软近期再次获得了一项比较有趣的技术专利,专注于冷却移动设备(手机、平板和笔记本)的散热器。这项专利名为“为移动计算设备打造的散热器”,于2018年2月20日提交,并于2018年8月23日获得美国商标和专利局的审批。



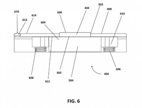
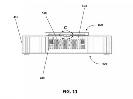
在这项专利中描述了能够连接冷却移动计算设备的散热器,例如用户将设备和该散热器连接之后能够解决设备过热问题。在专利描述中写道:“热管理系统和相应的使用方法已经本文中有所描述。热管理系统包括散热器,通过物理接触达到降温的效果。此外该散热器还能连接配对灵活使用,根据移动计算设备的尺寸大小来搭配出不同大小的散热器。”






公安备案号:32010202010067
我要说两句