新浪科技讯 7月30日下午消息,针对网络流传的“腾讯发币”传闻,腾讯方面回应新浪科技称:腾讯区块链不发行数字货币。
昨日晚间,腾讯申请波币、Qbanking、LinkBanking、波动星球、波动星等商标一事引起外界关注,有消息称,腾讯或将效仿百度度宇宙、网易星球等推出类似的区块链平台,同时发行数字货币。

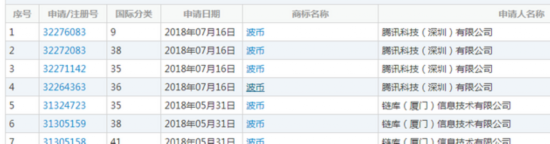
腾讯申请波币商标
新浪科技查询中国商标网发现,腾讯科技(深圳)有限公司确实在近期申请了大量类似波币、波丸、波星人等商标,同时在7月5日,还申请了infcoin商标。

腾讯申请infcoin商标
关于波币商标,腾讯于7月16日共申请了四件不同分类商标,目前均在等待受理,无发查询详细信息。而infcoin商标,腾讯申请了五件,目前已处于等待实质检查阶段。在商标详情中,可见到数据加密、数据存储、电子支付、货币交易等内容。

腾讯申请infcoin商标
据中国政法大学知识产权研究中心特约研究员李俊慧向新浪科技表示,商标是按照商品或服务类别来申请的,那么,这个申请的类别中的商品或服务,都有可能是涉及的。
如此看,腾讯是否会发布数字货币,或仍存疑。不过,马化腾此前曾明确表示,腾讯不会涉足发币。
今年两会期间,马化腾曾表示对区块链技术的看好:“区块链是一个好的技术,但还处在发展的早期,需要建立有效的应用模式,腾讯也在积极探索区块链在各个场景中的应用。”
不过马化腾也明确提到,腾讯区块链不发币。“技术是好的,但是怎么用好这是另一个方面。”
马化腾表示,如果做数字货币ICO,还是有很多风险,“如果大家都可以用区块链技术随便发行数字币,那会引发很多监管的问题。”






公安备案号:32010202010067
我要说两句