2024年01月25日 16:56:16 | 来源:大象新闻
字号变大| 字号变小
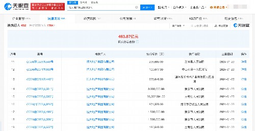
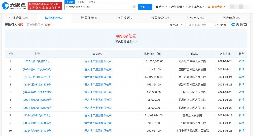
1月23日至24日,恒大地产集团有限公司新增19条被执行人信息,执行标的合计2.6亿余元,涉及金融借款合同纠纷、广告合同纠纷、票据纠纷等案件,部分案件被执行人还包括贵州永浩企业管理有限公司、恒大地产集团济南置业有限公司等,执行法院包括牡丹江市中级人民法院、深圳市南山区人民法院等。
风险信息显示,恒大地产集团有限公司现存450余条被执行人信息,被执行总金额超463亿元。此外,该公司还存在多条限制消费令、失信被执行人(老赖)和终本案件信息。
下载荔枝新闻APP客户端,随时随地看新闻!
今日聚焦
新闻排行
layer 分享
layer 评论
layer 置顶