苏州市疫情防控2022年第49号通告
根据国务院联防联控机制有关规定,经市指挥部研究决定,自发布之日起,对苏州市部分区域疫情风险等级进行调整:
张家港市凤凰镇金谷小区18、19幢、张家港市杨舍镇君临新城6号楼、张家港市凤凰镇双龙花园62幢、张家港市杨舍镇金新城悦府7幢、吴江区江陵街道城南花苑2167幢、吴中区郭巷街道双湾花园35幢、吴中区郭巷街道国泰社区国泰一村105幢、相城区万宇名都花园5幢、姑苏区胥江路361号(东方苑)1幢、姑苏区平江街道凤池弄5-2号楼、苏州工业园区南山·丽舍40幢、苏州工业园区文华公寓4号楼、苏州工业园区绿地·华尔道名邸小区由中风险地区调整为低风险地区。
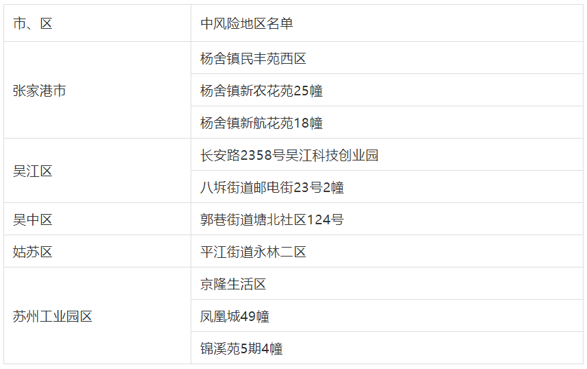
其他地区风险等级不变。调整后全市现有10个中风险地区。
苏州市新冠肺炎疫情联防联控指挥部
2022年3月4日
苏州市中风险地区(10个)
(2022年3月4日)







公安备案号:32010202010067