我苏网讯 3月2日,苏州市新冠肺炎疫情联防联控指挥部发布苏州市疫情防控2022年第45号通告。详情:
苏州市疫情防控2022年第45号通告
根据国务院联防联控机制有关规定,经市指挥部研究决定,自发布之日起,对苏州市部分区域疫情风险等级进行调整:
常熟市紫晶城5幢
常熟市中欧假日花园9幢
吴江区长安花园21幢
吴中区水岸清华97幢
吴中区甪直镇长巨村下扒浜马娄里172号
吴中区碧水湾花园60幢
吴中区碧堤半岛53幢
姑苏区大竹园3号楼
姑苏区吴门桥街道长欣苑南区4幢
苏州工业园区斜塘老街12号
苏州工业园区夏家桥118号9幢
苏州工业园区湖畔天城花园16幢
苏州工业园区花语江南20幢
苏州工业园区阳浦路150号1幢
由中风险地区调整为低风险地区。
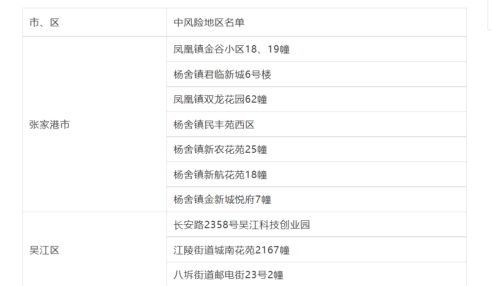
其他地区风险等级不变。调整后全市现有28个中风险地区。
苏州市新冠肺炎疫情联防联控指挥部
2022年3月2日
苏州市中风险地区(28个)
(2022年3月2日)









公安备案号:32010202010067