厉害了!
江苏徐州人徐啸获得一项国家级专利

近日,从中华人民共和国知识产权局传来消息,徐州睢宁县中医院设备科徐啸发明的一种便携式防摔倒腋下拐杖,获颁“实用新型专利证书”。

究竟是什么样的拐杖
获得国家级专利?
这种拐杖与平常的拐杖有什么不同?

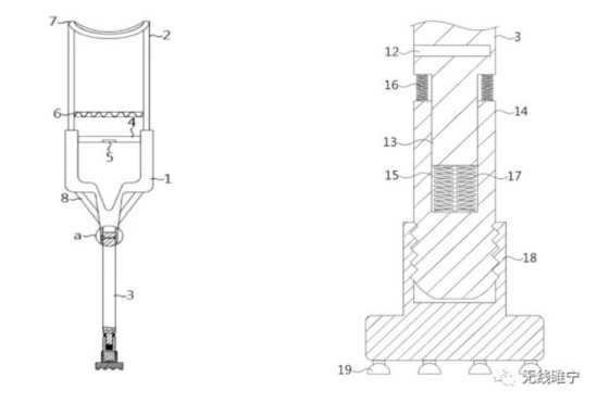
“经改良后的便携式防摔倒腋下拐杖与传统的拐杖相比较,便于携带,防滑,患者舒适度增加。”徐啸介绍。

▲工作中的徐啸

▲徐啸生活照
据了解,这种便携式防摔倒腋下拐杖,在支杆底部增加带吸盘的底座,有效增加了使用时的底座接触面积,使得在滑地面上患者使用时,不易打滑;同时设置多个弹簧进行缓冲作用,减小传递至拐上端与人体接触的震动作用力,增加了使用者的舒适感;将支杆通过连接架上滑孔收至固定杆上内部,再通过T形销进行固定,对拐杖不使用时进行折叠收缩,减小拐杖存放空间,便于携带。

创新的目的是为了更好地服务患者
为徐啸点赞

什么是实用新型专利?
它的特点是什么?
实用新型专利的定义:
实用新型专利又称小发明或小专利,是专利权的客体,是专利法保护的对象,是指依法应授予专利权的实用新型。实用新型通常是指对产品的形状、构造或者其结合所提出的适于实用的新的技术方案。

实用新型专利的特点:
(1)实用新型专利只保护产品。该产品应当是经过工业方法制造的、占据一定空间的实体。
(2)对实用新型的创造性要求不太高,但实用性要强,实用价值大。
(3)在专利权审批上采取简化审批程序、缩短保护期限、降低收费标准办法加以保护。
(4)实用新型专利受法律保护的期限是自申请日起的10年。






公安备案号:32010202010067